|
|
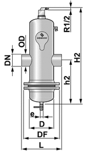
Сепаратор газа и шлама Spirocombi
|
|
|
|
В связи с резкими скачками курса евро и доллара, цены могут отличаться от цен сайта!
|
|
|
Сортировать по дате по названию по цене рейтингу |
|
Сепараторы микропузырьков и шлама от SPIROVENT
Система, в которой нет воздуха и шлама? Это реальность!
Существует уникальный прибор двойного действия, который автоматически удаляет весь воздух (в том числе и растворимые газы) и даже микроскопические частицы шлама из воды. Он работает без применения фильтров, что полностью освобождает Вас от необходимости проведения работ по техническому обслуживанию. Это означает снижение трудозатрат и издержек.

И все это - сепаратор шлама и воздуха Spirovent AIR & DIRT!
Особые свойства этого универсального прибора основываются на его тщательно продуманной конструкции. Специально разработанная трубка Spiro выполняет очень важную функцию: во-первых, она заставляет оседать грязь и даже самые маленькие частицы шлама в специальном резервуаре, а во-вторых, при помощи этой трубки воздух и микропузырьки поднимаются из воды в воздушную камеру. Частицы шлама выводятся через сливной кран. Воздух выводится через автоматический вентиляционный клапан. При этом система продолжает работать.
- Неблокируемый вентиляционный клапан.
- Ушко для подвеса существенно облегчает монтаж.
- Особая конструкция воздушной камеры: частицы грязи не попадают в вентиляционный клапан; большой объем воздушной камеры предотвращает значительные колебания давления.
- Спускной кран для отвода большого количества воздуха при заполнении системы и удаления загрязнений.
- Различные варианты подсоединения: сварка и фланцевое соединение.
- Шлам не оказывает воздействия на поток.
- Прочная конструкция, рассчитанная на долгие годы эксплуатации.
- Уникальная трубка Spiro. Эта деталь была специально разработана для оптимальной сепарации воздуха и грязи.
- Отсутствует необходимость частого удаления грязи ввиду большого объема камеры.
- Сливной кран для удаления шлама
Преимущества сепартора шлама и воздуха Spirovent AIR & DIRT
Максимальная защита системы и высокое качество воды.
- Оптимальный теплообмен.
- Отсутствие коррозии, неисправностей и шумов в системе.
- Отсутствие необходимости спуска воздуха вручную после запуска системы.
- Не нужен байпас или отсекающие элементы для чистки во время длительной работы.
- Грязь можно удалять, не останавливая систему.
- Три года заводской гарантии.
Все дело в уникальной трубке SPIRO!
Конструкция сетки обеспечивает торможение потока, в результате чего с одной стороны воздушные пузырьки могут подниматься в воздушную камеру, а с другой стороны частицы шлама, специфический вес которых больше веса воды, опускаются в емкость для скопления шлама. Сброс шлама занимает всего несколько секунд!
Профессиональный монтаж сепаратора шлама и воздуха - залог безупречной работы!
На оптимальное расположение сепартора шлама и воздуха Spirovent AIR & DIRT в системе решающее значение имеет сепарация микропузырьков, поэтому прибор монтируют в самом горячем месте системы. В системе отопления это точка на выходе из котла, а системе охлаждения - точка перед чиллером. В этих местах высвобождаются микропузырьки. Их возникновение объясняется законом Генри, в котором говорится, что растворимость газов в воде при повышении температуры и/или снижении давления уменьшается. Spirovent AIR & DIRT, используя этот закон, осуществляет деаэрацию всей системы. То, в какой точке улавливается грязь, имеет второстепенное значение.
|
|